了解最新公司動態及行業資訊
2016質量文檔新質量資料-新公文模型征文-全程指導寫作-獨家原創 14 服務器運維應急預案 維護數據中心穩定運行需要大量專業技術人員。承接重要業務的數據中心一般24小時有人值守,而無人值守的數據中心一般只能承接不重要的業務,完全無人值守和運營的數據中心幾乎沒有。因此,數據中心的日常運維工作雖然繁瑣,但卻非常重要。隨著人們的工作和生活完全依賴數據,承載數據計算和運營的數據中心發揮著越來越重要的作用,這凸顯了運維工作的重要性。當一個數據中心建成投產后,運維工作就開始了,直到數據中心的生命周期結束。一般來說,我們可以將數據中心的運維工作分為四類:一類是日常巡檢;二是應用變更和部署;三是軟硬件升級;四是突發故障處理,下面將詳細介紹這些運維工作,讓大家對運維工作有個了解。 “千里之堤崩于蟻巢”。任何故障都可能在它發生之前就顯現出來。小隱患不消除,可能導致大故障。因此,數據中心的日常巡檢是枯燥無味的,但也很重要。操作中的一些隱患可以及時發現。 根據數據中心所承載服務的重要性,需要對數據中心內所有運行設備進行例行檢查。優質文檔2016 全新優質資料-全新公文模型-全程指導編寫-獨家原創14 部分數據中心設備廠商提供檢測軟件,如管理軟件、安全防護軟件等。
可以使用這些軟件查看數據中心網絡【注意事項】查看日志中是否有異常告警,網絡是否短暫中斷,端口是否UP/DOWN等。通過網絡檢測軟件的網絡質量。檢查服務器應用服務是否正常,CPU和內存的利用率是否正常。檢查應用程序服務。例如服務器運維技術,如果有搜索服務,可以通過服務器進行單詞搜索,看看搜索結果和延遲是否在正常范圍內。這些檢查必須每天重復。一旦出現異常,將及時處理和消除。必要時將重要業務切換到備用環境,排除后還要檢查數據中心機房環境。粉塵是否符合要求??照{、供電系統運行良好,設備是否過熱,地板、天窗、防火、監控等都是檢查環節。不合理的地方要及時整改,不能偷懶。經常去一些數據中心的時候,會發現很多值班的運維人員手里拿著電腦在瀏覽頁面,玩游戲。應付日常檢查,甚至根本不檢查。只要沒有故障,玩游戲就需要時間,這樣數據中心的故障只是時間問題。一旦出現故障,就會一團糟,甚至哪個設備、哪個端口、哪條線路用于哪個業務都不清楚。本來,小毛病可能會因為不熟悉而導致大毛病。因此,不得進行日常檢查。雖然需要重復,但非常重要。 ,在不斷巡查的過程中,對數據中心的了解會越來越深,讓每一次巡查都有新的高質量文檔2016-全新的高質量信息-新的公文模型-全程指導寫作-獨家原創 14 現在,在通過檢查學習。
數據中心承載的服務不是靜態的。隨著服務的多樣化,服務也經常進行調整,包括服務器和網絡設置。因此,要熟悉服務器和網絡設備的操作,主要是要掌握服務器命令和網絡協議。根據您的應用程序的需要進行更改。這時對運維人員提出了更高的要求,不僅要對數據中心原有的業務非常熟悉,還要對新的應用業務有正確的認識,以免影響原有的業務。商業。進行調整。這樣的應用變更,每月可以進行數次,是數據中心運營商的必修課,凸顯了技術人員的基本技能水平。這時就需要熟悉設備操作指令,知道如何實現業務,并經常與設備制造商的技術人員打交道,以便通過溝通盡快掌握設備操作方法。同時,由于設備制造商對應用服務缺乏了解,運維人員需要協調處理應用服務和設備實現。以最快的時間、最低的成本完成應用業務部署。數據中心的設備一般運行五年。不斷有設備需要淘汰和更換,還有一些設備由于軟件缺陷需要升級。因此,軟硬件升級也是運維工作的一部分,尤其是在軟硬件出現故障時。必須更換。有時要求設備制造商提供軟件補丁來解決問題,以免影響業務。數據中心質量文檔2016 全新優質資料-全新官方文檔模型征文-全程指導寫作-獨家原創 14 設備上百臺,出現軟硬件故障是正常的,需要不斷升級軟件和硬件。凌晨業務量最少的時候,運維人員經常熬夜。運維人員必須身體素質好,否則不堪重負。
在軟硬件升級過程中需要做回滾機制,防止升級出現問題無法回滾,長時間無法恢復業務。接手數據中心的運維,你會發現為什么會有這么多的升級。幾乎每個月都有升級操作,熬夜升級已經成為運維人員的日常。沒有一個數據中心是沒有故障的,在數據??中心的運行過程中會出現這樣那樣的問題。這時候就顯示出運維人員的高技能水平。據統計,80%的故障是人為故障。因此,運維人員的水平往往決定了數據中心運行的穩定性。此外,對于突發性故障,高層運維人員可以從容分析故障的觸發原因,快速找到解決方案。業務,然后分析。這個時候,一個數據中心擁有高水平的運維人員就非常重要了,關鍵時刻可以派上用場。雖然這些工作看起來有些普通,但不要小看它們。數據中心運維工作其實非常重要,關系到整個數據中心業務的正常運行。目前,這樣的專業人員在市場上非常搶手,尤其是故障排除水平較深的人才稀缺。只有重視數據中2016年新的高質量文檔——新的公文模型——指導寫作的全過程——獨家原創的14心運維工作,數據中心才能安全。
4.14.2 高質量文檔2016 新的高質量文檔-新的官方文檔模型征文-全程指導寫作-獨家原創維護應急預案,通過此計劃確保安全系統。規范工作、制度化,加強文件管理。根據運維工作的范圍和性質,分為三個小組: 系統維護團隊 應用維護團隊 技術值班團隊 緊急預警 高級文檔 2016 全新高級文檔-新公文模型-全流程指導撰寫-專屬原文 4.1 緊急告警等級4.2 緊急告警處理流程 當運維過程中發生重大故障或緊急情況時,應按以下流程處理和報告。遇到故障,及時向上級報告,及時采取措施解決。具體上報流程如下: 4.2.1 一級預警處理 在指定時間檢查故障點的狀態。排除故障后,運維工程師應詳細說明故障原因及解決方法。 4.2.2 二級預警處理 當監控或得知系統出現故障時,首先在最短的時間內檢查故障點的狀態,并立即向組長報告。運維組長請致電或親自提交2016年新版高質量文檔-全新公文模型-全流程指南撰寫-獨家原創14位故障報告相關部門領導、運維工程師故障排除后,如果可以的話立即解決故障,他們將立即解決故障,如果需要設備制造商如果制造商的技術人員到達現場,則應立即致電技術制造商的技術工程師,并要求立即前往現場疑難解答。

故障排除后,運維工程師詳細說明故障原因及解決方法。 4.2.3 三級警告處理運維過程中,如遇到三級警告,應按以下流程處理(本文來自:文:服務器運維應急預案):當已知系統故障時,首先在最短的時間內檢查故障點的狀態,并立即向運維中心主管匯報。提交“故障報告”。運維工程師發現故障后,如能立即解決,故障立即解決。如果需要設備制造商的技術人員到現場,應立即致電技術制造商的技術工程師,要求立即到現場排除故障。優質文檔 2016 新優質資料-新公文模型-全流程指南撰寫-獨家原件 如果硬件設備出現故障無法修復需要更換,應報告運營主管及維修中心。排除故障后,運維工程師對故障原因進行處理,并詳細說明解決方法。隨著網絡信息化建設的不斷深入,加強機房各類設備、系統、信息和網絡安全的處理能力,應對突發事件將是我們的一項重要工作。為確保系統和機房的安全穩定,以保證正常運行為目的,按照“預防為主,積極處置”的原則,本著建立突發事件有效應對機制,建立統一指揮、職責明確、有序運行、快速響應 本應急預案是針對建立強大的機房安全體系的目標,最大限度地減少正在發生或已經發生的事故造成的損失,確保安全而專門制定的。員工人數。
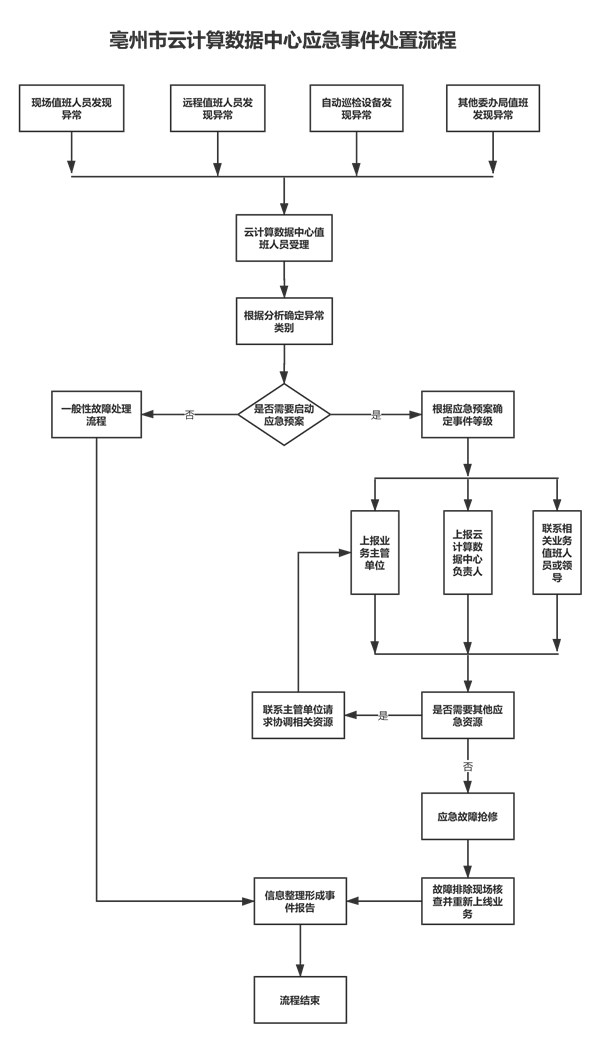
本預案分為應用系統故障應急流程和機房應急應急流程1.1、運維服務中心通過管理告警查找故障。全程指導寫作——獨家原創10監控系統運維服務團隊在得知系統故障后立即響應,并從報故障人或單位詳細了解系統故障情況。運維服務團隊對了解到的系統故障情況進行分析判斷,決定是采用一般故障處理流程還是立即啟動系統突發故障應急預案。需要啟動應急預案的,立即通知應急系統應急領導小組,領導小組啟動應急預案,對應急系統突發事件進行綜合管控。系統突發故障應急預案啟動后,首先是根據現場突發故障的實際情況、緊急程度、技術難度、備件等,根據經驗安排相關人員(主要是參加人員)并進行確認。 2016新版技術專家優質文件-新正式文件-全程指導撰寫-獨家原創 方案終止時間由現場技術人員根據現場實際進度,經協調后由現場技術人員決定用戶單位有關部門報應急系統應急領導小組決定。預案暫停后,相關預案參與者將根據整個事件的經驗和教訓,對應急預案進行修改和完善。
然后向應急系統應急領導小組報告。 1、自然災害:指地震、火災等自然因素對網絡和信息系統的破壞。 2、事故與災難:指因斷電、網絡損壞、軟硬件設備故障等對網絡和信息系統造成的破壞。3、人為傷害:指網絡和信息系統的損壞。人為破壞網絡線路、通信設施、黑客攻擊、病毒攻擊、恐怖襲擊等造成的信息系統 2016年應急機構人員崗位職責質量文件 新質量文件-新公文及樣本作文-全流程指導寫作——獨家原創 12 1.1、保證隨時及時協調所有參與應急行動的工作人員; 2.1、在總司令的領導下開展具體工作,在總司令不在時履行總司令的職責; 1.預防是重點。以安全防護為基礎,加強預警,重點保護基礎信息網絡和重要信息系統相關信息安全穩定,在管理、技術、人員等方面采取多種措施,充分發揮預防、監控等環節的作用、應急處理和應急支持。多方面作用,共同構建安全體系。 2.快速響應。突發事件發生時,按照快速反應機制,及時獲取充分、準確的信息,跟蹤研判,果斷決策,迅速處置,減少危害和影響。 3.分級負責。按照“誰負責、誰負責”的原則,建立健全安全責任制和聯動工作機制。
根據各負責人職責,各司其職,加強各負責人的協調配合,共同履行應急工作管理職責。 4.以人為本。把人民群眾的安全和公共利益放在首位。 5.做好準備。加強技術儲備,規范應急響應措施和操作流程,定期開展預案演練,確保應急預案有效服務器運維技術,實現網絡和信息安全突發事件應急響應科學化、流程化、規范化。工作日期間,信息技術部人員負責對機房進行監控。主要職責是:檢查網絡設備和系統的運行情況,及時處理異常情況,消除網絡故障隱患。 1.2 節假日期間,技術人員輪流值班,負責處理異常情況。 1.3 機房采用訪客登記制度。未經許可,無關人員不得進入公司機房區域。精品文檔2016新精品-新公文模型-全程指導寫作-獨家原創142、嚴格做好防雷、防火、防塵、防靜電等措施機房24小時監控